
운전 중 문자 보내기 차단…현대차 미국서 특허(종합)
과속방지턱 제한속도 권고 기술도 등록
(서울=연합뉴스) 김윤구 기자 = 지난해 말 미국 테네시주에서 통학버스 운전자가 고속도로에서 문자 메시지를 주고받다 사고를 내 학생 등 3명이 숨지고 20여명이 다쳤다.
2012년 6월 미국 매사추세츠주에서는 운전 도중 문자 메시지를 주고받다 사망 사고를 일으킨 10대가 징역 2년형을 선고받았다.
이처럼 운전 중 휴대전화에 한눈을 팔다 사고를 내는 사례가 국내외에서 잇따르는 가운데 현대자동차가 문자 메시지 송수신 등을 제한하는 기술의 특허를 미국에서 등록해 눈길을 끌고 있다.
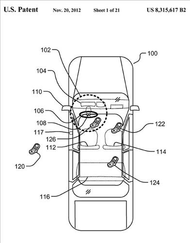
현대차는 주행 중 운전석에서 문자 메시지 등 특정 기능을 자동으로 차단하는 기술의 특허가 최근 미국에서 등록됐다고 23일 밝혔다.
현대차[005380]는 "이 기술은 운전자의 주의를 분산시킬 수 있는 모바일 기기의 사용을 제한하거나 완전히 차단한다"고 설명했다.
안테나로 휴대전화의 신호를 감지해 전화나 문자 등 기능을 선택적으로 허용한다는 것이다.
현대차 측은 이 기술의 아이디어를 올해 초 구입해 특허를 등록했으며 일부 관련 기술 특허 절차도 진행 중이라고 덧붙였다.
현대차 관계자는 "향후 기술 개발 과정을 거쳐 실제 차량에 적용하게 될 것"이라고 말했다.
현대차는 과속 방지턱의 높이 등을 측정해 운전자에게 제한 속도를 권고하는 기술도 미국에서 특허 등록했다.
이는 현대차가 수년 내에 상용화할 자율주행 차량에 적용될 것으로 보인다.
현대차는 미국에서 특허 관련 소송에 시달리다 특허 출원에 공을 들이고 있다.
올 초 톰슨로이터 IP&사이언스 조사에 따르면 현대차는 최근 5년간 미국에서 자동차 분야의 특허 출원 건수가 가장 큰 폭으로 늘어난 기업으로 나타났다. 현대차의 특허 출원 건수는 도요타, 보쉬에 이은 3위로 1위 도요타와의 격차가 상당히 좁혀졌다.
현대차는 미국에서 2013년 1천200건의 특허를 출원했는데 이는 2010년의 500건보다 2배 이상으로 급증한 것이다.
[저작권자ⓒ 시흥부자동네카임즈. 무단전재-재배포 금지]





































